Chapter 9. Drawing Pixels, Bitmaps, Fonts, and Images

Chapter Objectives

After reading this chapter, you'll be able to do the following:

So far, most of the discussion in this guide has concerned the rendering of geometric data—points, lines, and polygons. Two other important classes of data that can be rendered by OpenGL are

Both bitmaps and image data take the form of rectangular arrays of pixels. One difference between them is that a bitmap consists of a single bit of information about each pixel, and image data typically includes several pieces of data per pixel (the complete red, green, blue, and alpha color components, for example). Also, bitmaps are like masks in that they're used to overlay another image, but image data simply overwrites or is blended with whatever data is in the framebuffer.

This chapter describes how to draw pixel data (bitmaps and images) from processor memory to the framebuffer and how to read pixel data from the framebuffer into processor memory. It also describes how to copy pixel data from one position to another, either from one buffer to another or within a single buffer. This chapter contains the following major sections:

In most cases, the necessary pixel operations are simple, so the first three sections might be all you need to read for your application. However, pixel manipulation can be complex—there are many ways to store pixel data in memory, and you can apply any of several transformations to pixels as they're moved to and from the framebuffer. These details are the subject of the fourth section of this chapter. Most likely, you'll want to read this section only when you actually need to make use of the information. The last section provides useful tips to get the best performance when rendering bitmaps and images.

Bitmaps and Fonts

A bitmap is a rectangular array of 0s and 1s that serves as a drawing mask for a corresponding rectangular portion of the window. Suppose you're drawing a bitmap and that the current raster color is red. Wherever there's a 1 in the bitmap, the corresponding pixel is replaced by a red pixel (or combined with a red pixel, depending on which per-fragment operations are in effect. (See “Testing and Operating on Fragments” in Chapter 10.) If there's a 0 in the bitmap, the contents of the pixel are unaffected. The most common use of bitmaps is for drawing characters on the screen.

OpenGL provides only the lowest level of support for drawing strings of characters and manipulating fonts. The commands glRasterPos*() and glBitmap() position and draw a single bitmap on the screen. In addition, through the display-list mechanism, you can use a sequence of character codes to index into a corresponding series of bitmaps representing those characters. (See Chapter 7 for more information about display lists.) You'll have to write your own routines to provide any other support you need for manipulating bitmaps, fonts, and strings of characters.

Consider Example 8-1, which draws the character F three times on the screen. Figure 8-1 shows the F as a bitmap and its corresponding bitmap data.

Figure 9-1. Bitmapped F and Its Data


Example 9-1. Drawing a Bitmapped Character: drawf.c


#include <GL/gl.h>
#include <GL/glu.h>
#include <GL/glut.h>
#include <stdlib.h>

GLubyte rasters[24] = {
   0xc0, 0x00, 0xc0, 0x00, 0xc0, 0x00, 0xc0, 0x00, 0xc0, 0x00,
   0xff, 0x00, 0xff, 0x00, 0xc0, 0x00, 0xc0, 0x00, 0xc0, 0x00,
   0xff, 0xc0, 0xff, 0xc0};

void init(void)
{
   glPixelStorei (GL_UNPACK_ALIGNMENT, 1);
   glClearColor (0.0, 0.0, 0.0, 0.0);
}

void display(void)
{
   glClear(GL_COLOR_BUFFER_BIT);
   glColor3f (1.0, 1.0, 1.0);
   glRasterPos2i (20, 20);
   glBitmap (10, 12, 0.0, 0.0, 11.0, 0.0, rasters);
   glBitmap (10, 12, 0.0, 0.0, 11.0, 0.0, rasters);
   glBitmap (10, 12, 0.0, 0.0, 11.0, 0.0, rasters);
   glFlush();
}

void reshape(int w, int h)
{
   glViewport(0, 0, (GLsizei) w, (GLsizei) h);
   glMatrixMode(GL_PROJECTION);
   glLoadIdentity();
   glOrtho (0, w, 0, h, -1.0, 1.0);
   glMatrixMode(GL_MODELVIEW);
}

void keyboard(unsigned char key, int x, int y)
{
   switch (key) {
      case 27:
         exit(0);
   }
}

int main(int argc, char** argv)
{
   glutInit(&argc, argv);
   glutInitDisplayMode(GLUT_SINGLE | GLUT_RGB);
   glutInitWindowSize(100, 100);
   glutInitWindowPosition(100, 100);
   glutCreateWindow(argv[0]);
   init();
   glutReshapeFunc(reshape);
   glutKeyboardFunc(keyboard);
   glutDisplayFunc(display);
   glutMainLoop();
   return 0;
}

In Figure 8-1, note that the visible part of the F character is at most 10 bits wide. Bitmap data is always stored in chunks that are multiples of 8 bits, but the width of the actual bitmap doesn't have to be a multiple of 8. The bits making up a bitmap are drawn starting from the lower-left corner: First, the bottom row is drawn, then the next row above it, and so on. As you can tell from the code, the bitmap is stored in memory in this order—the array of rasters begins with 0xc0, 0x00, 0xc0, 0x00 for the bottom two rows of the F and continues to 0xff, 0xc0, 0xff, 0xc0 for the top two rows.

The commands of interest in this example are glRasterPos2i() and glBitmap(); they're discussed in detail in the next section. For now, ignore the call to glPixelStorei(); it describes how the bitmap data is stored in computer memory. (See “Controlling Pixel-Storage Modes” for more information.)

The Current Raster Position

The current raster position is the origin where the next bitmap (or image) is to be drawn. In the F example, the raster position was set by calling glRasterPos*() with coordinates (20, 20), which is where the lower-left corner of the F was drawn:

glRasterPos2i(20, 20); 

void glRasterPos{234}{sifd}(TYPE x, TYPE y, TYPE z, TYPE w);
void glRasterPos{234}{sifd}v(TYPE *coords);
 

Sets the current raster position. The x, y, z, and w arguments specify the coordinates of the raster position. If the vector form of the function is used, the coords array contains the coordinates of the raster position. If glRasterPos2*() is used, z is implicitly set to zero and w is implicitly set to one; similarly, with glRasterPos3*(), w is set to one.

The coordinates of the raster position are transformed to screen coordinates in exactly the same way as coordinates supplied with a glVertex*() command (that is, with the modelview and perspective matrices). After transformation, they either define a valid spot in the viewport, or they're clipped out because the coordinates were outside the viewing volume. If the transformed point is clipped out, the current raster position is invalid.


Note: If you want to specify the raster position in screen coordinates, you'll want to make sure you've specified the modelview and projection matrices for simple 2D rendering, with something like this sequence of commands, where width and height are also the size (in pixels) of the viewport:


glMatrixMode(GL_PROJECTION);
glLoadIdentity();
gluOrtho2D(0.0, (GLfloat) width, 0.0, (GLfloat) height);
glMatrixMode(GL_MODELVIEW);
glLoadIdentity();

To obtain the current raster position, you can use the query command glGetFloatv() with GL_CURRENT_RASTER_POSITION as the first argument. The second argument should be a pointer to an array that can hold the (x, y, z, w) values as floating-point numbers. Call glGetBooleanv() with GL_CURRENT_RASTER_POSITION_VALID as the first argument to determine whether the current raster position is valid.

Drawing the Bitmap

Once you've set the desired raster position, you can use the glBitmap() command to draw the data.

void glBitmap(GLsizei width, GLsizei height, GLfloat xbo,
GLfloat ybo, GLfloat xbi,
GLfloat ybi, const GLubyte *bitmap);
 

Draws the bitmap specified by bitmap, which is a pointer to the bitmap image. The origin of the bitmap is placed at the current raster position. If the current raster position is invalid, nothing is drawn, and the raster position remains invalid. The width and height arguments indicate the width and height, in pixels, of the bitmap. The width need not be a multiple of 8, although the data is stored in unsigned characters of 8 bits each. (In the F example, it wouldn't matter if there were garbage bits in the data beyond the tenth bit; since glBitmap() was called with a width of 10, only 10 bits of the row are rendered.) Use xbo and ybo to define the origin of the bitmap (positive values move the origin up and to the right of the raster position; negative values move it down and to the left); xbi and ybi indicate the x and y increments that are added to the raster position after the bitmap is rasterized (see Figure 8-2).

Figure 9-2. Bitmap and Its Associated Parameters


Allowing the origin of the bitmap to be placed arbitrarily makes it easy for characters to extend below the origin (typically used for characters with descenders, such as g, j, and y), or to extend beyond the left of the origin (used for various swash characters, which have extended flourishes, or for characters in fonts that lean to the left).

After the bitmap is drawn, the current raster position is advanced by xbi and ybi in the x- and y-directions, respectively. (If you just want to advance the current raster position without drawing anything, call glBitmap() with the bitmap parameter set to NULL and with the width and height set to zero.) For standard Latin fonts, ybi is typically 0.0 and xbi is positive (since successive characters are drawn from left to right). For Hebrew, where characters go from right to left, the xbi values would typically be negative. Fonts that draw successive characters vertically in columns would use zero for xbi and nonzero values for ybi. In Figure 8-2, each time the F is drawn, the current raster position advances by 11 pixels, allowing a 1-pixel space between successive characters.

Since xbo, ybo, xbi, and ybi are floating-point values, characters need not be an integral number of pixels apart. Actual characters are drawn on exact pixel boundaries, but the current raster position is kept in floating point so that each character is drawn as close as possible to where it belongs. For example, if the code in the F example was modified so that xbi is 11.5 instead of 12, and if more characters were drawn, the space between letters would alternate between 1 and 2 pixels, giving the best approximation to the requested 1.5-pixel space.


Note: You can't rotate bitmap fonts because the bitmap is always drawn aligned to the x and y framebuffer axes.


Choosing a Color for the Bitmap

You are familiar with using glColor*() and glIndex*() to set the current color or index to draw geometric primitives. The same commands are used to set different state variables, GL_CURRENT_RASTER_COLOR and GL_CURRENT_RASTER_INDEX, for rendering bitmaps. The raster color state variables are set when glRasterPos*() is called, which can lead to a trap. In the following sequence of code, what is the color of the bitmap?

glColor3f(1.0, 1.0, 1.0);  /* white */
glRasterPos3fv(position);
glColor3f(1.0, 0.0, 0.0);  /* red  */
glBitmap(....);

The bitmap is white! The GL_CURRENT_RASTER_COLOR is set to white when glRasterPos3fv() is called. The second call to glColor3f() changes the value of GL_CURRENT_COLOR for future geometric rendering, but the color used to render the bitmap is unchanged.

To obtain the current raster color or index, you can use the query commands glGetFloatv() or glGetIntegerv() with GL_CURRENT_RASTER_COLOR or GL_CURRENT_RASTER_INDEX as the first argument.

Fonts and Display Lists

Display lists are discussed in general terms in Chapter 7. However, a few of the display-list management commands have special relevance for drawing strings of characters. As you read this section, keep in mind that the ideas presented here apply equally well to characters that are drawn using bitmap data and those drawn using geometric primitives (points, lines, and polygons). (See “Executing Multiple Display Lists” in Chapter 7 for an example of a geometric font.)

A font typically consists of a set of characters, where each character has an identifying number (usually the ASCII code) and a drawing method. For a standard ASCII character set, the capital letter A is number 65, B is 66, and so on. The string “DAB” would be represented by the three indices 68, 65, 66. In the simplest approach, display-list number 65 draws an A, number 66 draws a B, and so on. Then to draw the string 68, 65, 66, just execute the corresponding display lists.

You can use the command glCallLists() in just this way:

void glCallLists(GLsizei n, GLenum type, const GLvoid *lists);

The first argument, n, indicates the number of characters to be drawn, type is usually GL_BYTE, and lists is an array of character codes.

Since many applications need to draw character strings in multiple fonts and sizes, this simplest approach isn't convenient. Instead, you'd like to use 65 as A no matter what font is currently active. You could force font 1 to encode A, B, and C as 1065, 1066, 1067, and font 2 as 2065, 2066, 2067, but then any numbers larger than 256 would no longer fit in an 8-bit byte. A better solution is to add an offset to every entry in the string and to choose the display list. In this case, font 1 has A, B, and C represented by 1065, 1066, and 1067, and in font 2, they might be 2065, 2066, and 2067. Then to draw characters in font 1, set the offset to 1000 and draw display lists 65, 66, and 67. To draw that same string in font 2, set the offset to 2000 and draw the same lists.

To set the offset, use the command glListBase(). For the preceding examples, it should be called with 1000 or 2000 as the (only) argument. Now what you need is a contiguous list of unused display-list numbers, which you can obtain from glGenLists():

GLuint glGenLists(GLsizei range); 

This function returns a block of range display-list identifiers. The returned lists are all marked as “used” even though they're empty, so that subsequent calls to glGenLists() never return the same lists (unless you've explicitly deleted them previously). Therefore, if you use 4 as the argument and if glGenLists() returns 81, you can use display-list identifiers 81, 82, 83, and 84 for your characters. If glGenLists() can't find a block of unused identifiers of the requested length, it returns 0. (Note that the command glDeleteLists() makes it easy to delete all the lists associated with a font in a single operation.)

Most American and European fonts have a small number of characters (fewer than 256), so it's easy to represent each character with a different code that can be stored in a single byte. Asian fonts, among others, may require much larger character sets, so a byte-per-character encoding is impossible. OpenGL allows strings to be composed of 1-, 2-, 3-, or 4-byte characters through the type parameter in glCallLists(). This parameter can have any of the following values:

GL_BYTE GL_UNSIGNED_BYTE

GL_SHORT GL_UNSIGNED_SHORT

GL_INT GL_UNSIGNED_INT

GL_FLOAT GL_2_BYTES

GL_3_BYTES GL_4_BYTES

(See “Executing Multiple Display Lists” in Chapter 7 for more information about these values.)

Defining and Using a Complete Font

The glBitmap() command and the display-list mechanism described in the previous section make it easy to define a raster font. In Example 8-2, the upper-case characters of an ASCII font are defined. In this example, each character has the same width, but this is not always the case. Once the characters are defined, the program prints the message “THE QUICK BROWN FOX JUMPS OVER A LAZY DOG”.

The code in Example 8-2 is similar to the F example, except that each character's bitmap is stored in its own display list. The display list identifier, when combined with the offset returned by glGenLists(), is equal to the ASCII code for the character.

Example 9-2. Drawing a Complete Font: font.c


#include <GL/gl.h>
#include <GL/glu.h>
#include <GL/glut.h>
#include <stdlib.h>
#include <string.h>

GLubyte space[] =
    {0x00, 0x00, 0x00, 0x00, 0x00, 0x00, 0x00, 0x00, 0x00, 0x00, 0x00, 0x00, 0x00};
GLubyte letters[][13] = {
    {0x00, 0x00, 0xc3, 0xc3, 0xc3, 0xc3, 0xff, 0xc3, 0xc3, 0xc3, 0x66, 0x3c, 0x18},
    {0x00, 0x00, 0xfe, 0xc7, 0xc3, 0xc3, 0xc7, 0xfe, 0xc7, 0xc3, 0xc3, 0xc7, 0xfe},
    {0x00, 0x00, 0x7e, 0xe7, 0xc0, 0xc0, 0xc0, 0xc0, 0xc0, 0xc0, 0xc0, 0xe7, 0x7e},
    {0x00, 0x00, 0xfc, 0xce, 0xc7, 0xc3, 0xc3, 0xc3, 0xc3, 0xc3, 0xc7, 0xce, 0xfc},
    {0x00, 0x00, 0xff, 0xc0, 0xc0, 0xc0, 0xc0, 0xfc, 0xc0, 0xc0, 0xc0, 0xc0, 0xff},
    {0x00, 0x00, 0xc0, 0xc0, 0xc0, 0xc0, 0xc0, 0xc0, 0xfc, 0xc0, 0xc0, 0xc0, 0xff},
    {0x00, 0x00, 0x7e, 0xe7, 0xc3, 0xc3, 0xcf, 0xc0, 0xc0, 0xc0, 0xc0, 0xe7, 0x7e},
    {0x00, 0x00, 0xc3, 0xc3, 0xc3, 0xc3, 0xc3, 0xff, 0xc3, 0xc3, 0xc3, 0xc3, 0xc3},
    {0x00, 0x00, 0x7e, 0x18, 0x18, 0x18, 0x18, 0x18, 0x18, 0x18, 0x18, 0x18, 0x7e},
    {0x00, 0x00, 0x7c, 0xee, 0xc6, 0x06, 0x06, 0x06, 0x06, 0x06, 0x06, 0x06, 0x06},
    {0x00, 0x00, 0xc3, 0xc6, 0xcc, 0xd8, 0xf0, 0xe0, 0xf0, 0xd8, 0xcc, 0xc6, 0xc3},
    {0x00, 0x00, 0xff, 0xc0, 0xc0, 0xc0, 0xc0, 0xc0, 0xc0, 0xc0, 0xc0, 0xc0, 0xc0},
    {0x00, 0x00, 0xc3, 0xc3, 0xc3, 0xc3, 0xc3, 0xc3, 0xdb, 0xff, 0xff, 0xe7, 0xc3},
    {0x00, 0x00, 0xc7, 0xc7, 0xcf, 0xcf, 0xdf, 0xdb, 0xfb, 0xf3, 0xf3, 0xe3, 0xe3},
    {0x00, 0x00, 0x7e, 0xe7, 0xc3, 0xc3, 0xc3, 0xc3, 0xc3, 0xc3, 0xc3, 0xe7, 0x7e},
    {0x00, 0x00, 0xc0, 0xc0, 0xc0, 0xc0, 0xc0, 0xfe, 0xc7, 0xc3, 0xc3, 0xc7, 0xfe},
    {0x00, 0x00, 0x3f, 0x6e, 0xdf, 0xdb, 0xc3, 0xc3, 0xc3, 0xc3, 0xc3, 0x66, 0x3c},
    {0x00, 0x00, 0xc3, 0xc6, 0xcc, 0xd8, 0xf0, 0xfe, 0xc7, 0xc3, 0xc3, 0xc7, 0xfe},
    {0x00, 0x00, 0x7e, 0xe7, 0x03, 0x03, 0x07, 0x7e, 0xe0, 0xc0, 0xc0, 0xe7, 0x7e},
    {0x00, 0x00, 0x18, 0x18, 0x18, 0x18, 0x18, 0x18, 0x18, 0x18, 0x18, 0x18, 0xff},
    {0x00, 0x00, 0x7e, 0xe7, 0xc3, 0xc3, 0xc3, 0xc3, 0xc3, 0xc3, 0xc3, 0xc3, 0xc3},
    {0x00, 0x00, 0x18, 0x3c, 0x3c, 0x66, 0x66, 0xc3, 0xc3, 0xc3, 0xc3, 0xc3, 0xc3},
    {0x00, 0x00, 0xc3, 0xe7, 0xff, 0xff, 0xdb, 0xdb, 0xc3, 0xc3, 0xc3, 0xc3, 0xc3},
    {0x00, 0x00, 0xc3, 0x66, 0x66, 0x3c, 0x3c, 0x18, 0x3c, 0x3c, 0x66, 0x66, 0xc3},
    {0x00, 0x00, 0x18, 0x18, 0x18, 0x18, 0x18, 0x18, 0x3c, 0x3c, 0x66, 0x66, 0xc3},
    {0x00, 0x00, 0xff, 0xc0, 0xc0, 0x60, 0x30, 0x7e, 0x0c, 0x06, 0x03, 0x03, 0xff}
};

GLuint fontOffset;

void makeRasterFont(void)
{
   GLuint i, j;
   glPixelStorei(GL_UNPACK_ALIGNMENT, 1);

   fontOffset = glGenLists (128);
   for (i = 0,j = `A'; i < 26; i++,j++) {
      glNewList(fontOffset + j, GL_COMPILE);
      glBitmap(8, 13, 0.0, 2.0, 10.0, 0.0, letters[i]);
      glEndList();
   }
   glNewList(fontOffset + ` `, GL_COMPILE);
   glBitmap(8, 13, 0.0, 2.0, 10.0, 0.0, space);
   glEndList();
}

void init(void)
{
   glShadeModel (GL_FLAT);
   makeRasterFont();
}

void printString(char *s)
{
   glPushAttrib (GL_LIST_BIT);
   glListBase(fontOffset);
   glCallLists(strlen(s), GL_UNSIGNED_BYTE, (GLubyte *) s);
   glPopAttrib ();
}

/* Everything above this line could be in a library 
 * that defines a font.  To make it work, you've got 
 * to call makeRasterFont() before you start making 
 * calls to printString().
 */
void display(void)
{
   GLfloat white[3] = { 1.0, 1.0, 1.0 };

   glClear(GL_COLOR_BUFFER_BIT);
   glColor3fv(white);

   glRasterPos2i(20, 60);
   printString(“THE QUICK BROWN FOX JUMPS”);
   glRasterPos2i(20, 40);
   printString(“OVER A LAZY DOG”);
   glFlush ();
}

void reshape(int w, int h)
{
   glViewport(0, 0, (GLsizei) w, (GLsizei) h);
   glMatrixMode(GL_PROJECTION);
   glLoadIdentity();
   glOrtho (0.0, w, 0.0, h, -1.0, 1.0);
   glMatrixMode(GL_MODELVIEW);
}

void keyboard(unsigned char key, int x, int y)
{
   switch (key) {
      case 27:
         exit(0);
   }
}

int main(int argc, char** argv)
{
   glutInit(&argc, argv);
   glutInitDisplayMode(GLUT_SINGLE | GLUT_RGB);
   glutInitWindowSize(300, 100);
   glutInitWindowPosition (100, 100);
   glutCreateWindow(argv[0]);
   init();
   glutReshapeFunc(reshape);
   glutKeyboardFunc(keyboard);
   glutDisplayFunc(display);
   glutMainLoop();
   return 0;
}

Images

An image is similar to a bitmap, but instead of containing only a single bit for each pixel in a rectangular region of the screen, an image can contain much more information. For example, an image can contain a complete (R, G, B, A) color stored at each pixel. Images can come from several sources, such as

  • A photograph that's digitized with a scanner

  • An image that was first generated on the screen by a graphics program using the graphics hardware and then read back, pixel by pixel

  • A software program that generated the image in memory pixel by pixel

The images you normally think of as pictures come from the color buffers. However, you can read or write rectangular regions of pixel data from or to the depth buffer or the stencil buffer. (See Chapter 10 for an explanation of these other buffers.)

In addition to simply being displayed on the screen, images can be used for texture maps, in which case they're essentially pasted onto polygons that are rendered on the screen in the normal way. (See Chapter 9 for more information about this technique.)

Reading, Writing, and Copying Pixel Data

OpenGL provides three basic commands that manipulate image data:

  • glReadPixels()—Reads a rectangular array of pixels from the framebuffer and stores the data in processor memory.

  • glDrawPixels()—Writes a rectangular array of pixels from data kept in processor memory into the framebuffer at the current raster position specified by glRasterPos*().

  • glCopyPixels()—Copies a rectangular array of pixels from one part of the framebuffer to another. This command behaves similarly to a call to glReadPixels() followed by a call to glDrawPixels(), but the data is never written into processor memory.

For the aforementioned commands, the order of pixel data processing operations is shown in Figure 8-3:

Figure 9-3. Simplistic Diagram of Pixel Data Flow


The basic ideas in Figure 8-3 are correct. The coordinates of glRasterPos*(), which specify the current raster position used by glDrawPixels() and glCopyPixels(), are transformed by the geometric processing pipeline. Both glDrawPixels() and glCopyPixels() are affected by rasterization and per-fragment operations. (But when drawing or copying a pixel rectangle, there's almost never a reason to have fog or texture enabled.)

However, additional steps arise because there are many kinds of framebuffer data, many ways to store pixel information in computer memory, and various data conversions that can be performed during the reading, writing, and copying operations. These possibilities translate to many different modes of operation. If all your program does is copy images on the screen or read them into memory temporarily so that they can be copied out later, you can ignore most of these modes. However, if you want your program to modify the data while it's in memory—for example, if you have an image stored in one format but the window requires a different format—or if you want to save image data to a file for future restoration in another session or on another kind of machine with significantly different graphical capabilities, you have to understand the various modes.

The rest of this section describes the basic commands in detail. The following sections discuss the details of the series of imaging operations that comprise the Imaging Pipeline: pixel-storage modes, pixel-transfer operations, and pixel-mapping operations.

Reading Pixel Data from Frame Buffer to Processor Memory

void glReadPixels(GLint x, GLint y, GLsizei width, GLsizei height,
GLenum format, GLenum type, GLvoid *pixels);
 

Reads pixel data from the framebuffer rectangle whose lower-left corner is at (x, y) and whose dimensions are width and height and stores it in the array pointed to by pixels. format indicates the kind of pixel data elements that are read (an index value or an R, G, B, or A component value, as listed in Table 8-1), and type indicates the data type of each element (see Table 8-2).

If you are using glReadPixels() to obtain RGBA or color-index information, you may need to clarify which buffer you are trying to access. For example, if you have a double-buffered window, you need to specify whether you are reading data from the front buffer or back buffer. To control the current read source buffer, call glReadBuffer(). (See “Selecting Color Buffers for Writing and Reading” in Chapter 10.)

Table 9-1. Pixel Formats for glReadPixels() or glDrawPixels()

format Constant

Pixel Format

GL_COLOR_INDEX

A single color index

GL_RGB

A red color component, followed by a green color component, followed by a blue color component

GL_RGBA

A red color component, followed by a green color component, followed by a blue color component, followed by an alpha color component

GL_RED

A single red color component

GL_GREEN

A single green color component

GL_BLUE

A single blue color component

GL_ALPHA

A single alpha color component

GL_LUMINANCE

A single luminance component

GL_LUMINANCE_ALPHA

A luminance component followed by an alpha color component

GL_STENCIL_INDEX

A single stencil index

GL_DEPTH_COMPONENT

A single depth component


Table 9-2. Data Types for glReadPixels() or glDrawPixels()

type Constant

Data Type

GL_UNSIGNED_BYTE

unsigned 8-bit integer

GL_BYTE

signed 8-bit integer

GL_BITMAP

single bits in unsigned 8-bit integers using the same format as glBitmap()

GL_UNSIGNED_SHORT

unsigned 16-bit integer

GL_SHORT

signed 16-bit integer

GL_UNSIGNED_INT

unsigned 32-bit integer

GL_INT

signed 32-bit integer

GL_FLOAT

single-precision floating point

Remember that, depending on the format, anywhere from one to four elements are read (or written). For example, if the format is GL_RGBA and you're reading into 32-bit integers (that is, if type is equal to GL_UNSIGNED_INT or GL_INT), then every pixel read requires 16 bytes of storage (four components × four bytes/component).

Each element of the image is stored in memory as indicated by Table 8-2. If the element represents a continuous value, such as a red, green, blue, or luminance component, each value is scaled to fit into the available number of bits. For example, assume the red component is initially specified as a floating-point value between 0.0 and 1.0. If it needs to be packed into an unsigned byte, only 8 bits of precision are kept, even if more bits are allocated to the red component in the framebuffer. GL_UNSIGNED_SHORT and GL_UNSIGNED_INT give 16 and 32 bits of precision, respectively. The normal (signed) versions of GL_BYTE, GL_SHORT, and GL_INT have 7, 15, and 31 bits of precision, since the negative values are typically not used.

If the element is an index (a color index or a stencil index, for example), and the type is not GL_FLOAT, the value is simply masked against the available bits in the type. The signed versions—GL_BYTE, GL_SHORT, and GL_INT—have masks with one fewer bit. For example, if a color index is to be stored in a signed 8-bit integer, it's first masked against 0x7f. If the type is GL_FLOAT, the index is simply converted into a single-precision floating-point number (for example, the index 17 is converted to the float 17.0).

Writing Pixel Data from Processor Memory to Frame Buffer

void glDrawPixels(GLsizei width, GLsizei height, GLenum format,
GLenum type, const GLvoid *pixels);
 

Draws a rectangle of pixel data with dimensions width and height. The pixel rectangle is drawn with its lower-left corner at the current raster position. format and type have the same meaning as with glReadPixels(). (For legal values for format and type, see Table 8-1 and Table 8-2.) The array pointed to by pixels contains the pixel data to be drawn. If the current raster position is invalid, nothing is drawn, and the raster position remains invalid.

Example 8-3 is a portion of a program, which uses glDrawPixels() to draw an pixel rectangle in the lower-left corner of a window. makeCheckImage() creates a 64-by-64 RGB array of a black-and-white checkerboard image. glRasterPos2i(0,0) positions the lower-left corner of the image. For now, ignore glPixelStorei().

Example 9-3. Use of glDrawPixels(): image.c


#define checkImageWidth 64
#define checkImageHeight 64
GLubyte checkImage[checkImageHeight][checkImageWidth][3];

void makeCheckImage(void)
{
   int i, j, c;
   
   for (i = 0; i < checkImageHeight; i++) {
      for (j = 0; j < checkImageWidth; j++) {
         c = ((((i&0x8)==0)^((j&0x8))==0))*255;
         checkImage[i][j][0] = (GLubyte) c;
         checkImage[i][j][1] = (GLubyte) c;
         checkImage[i][j][2] = (GLubyte) c;
      }
   }
}

void init(void)
{  
   glClearColor (0.0, 0.0, 0.0, 0.0);
   glShadeModel(GL_FLAT);
   makeCheckImage();
   glPixelStorei(GL_UNPACK_ALIGNMENT, 1);
}
void display(void)
{
   glClear(GL_COLOR_BUFFER_BIT);
   glRasterPos2i(0, 0);
   glDrawPixels(checkImageWidth, checkImageHeight, GL_RGB,
                GL_UNSIGNED_BYTE, checkImage);
   glFlush();
}

When using glDrawPixels() to write RGBA or color-index information, you may need to control the current drawing buffers with glDrawBuffer(), which, along with glReadBuffer(), is also described in “Selecting Color Buffers for Writing and Reading” in Chapter 10.

Copying Pixel Data within the Frame Buffer

void glCopyPixels(GLint x, GLint y, GLsizei width, GLsizei height,
GLenum buffer);
 

Copies pixel data from the framebuffer rectangle whose lower-left corner is at (x, y) and whose dimensions are width and height. The data is copied to a new position whose lower-left corner is given by the current raster position. buffer is either GL_COLOR, GL_STENCIL, or GL_DEPTH, specifying the framebuffer that is used. glCopyPixels() behaves similarly to a glReadPixels() followed by a glDrawPixels(), with the following translation for the buffer to format parameter:

  • If buffer is GL_DEPTH or GL_STENCIL, then GL_DEPTH_COMPONENT or GL_STENCIL_INDEX is used, respectively.

  • If GL_COLOR is specified, GL_RGBA or GL_COLOR_INDEX is used, depending on whether the system is in RGBA or color-index mode.

Note that there's no need for a format or data parameter for glCopyPixels(), since the data is never copied into processor memory. The read source buffer and the destination buffer of glCopyPixels() are specified by glReadBuffer() and glDrawBuffer() respectively. Both glDrawPixels() and glCopyPixels() are used in Example 8-4.

For all three functions, the exact conversions of the data going to or from the framebuffer depend on the modes in effect at the time. See the next section for details.

Imaging Pipeline

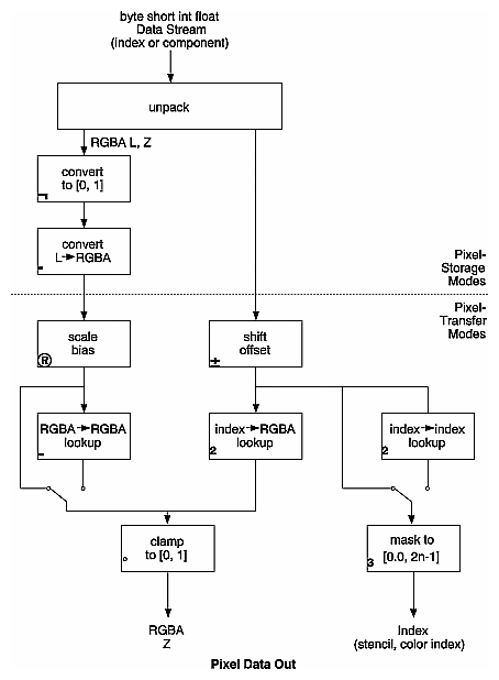
This section discusses the complete Imaging Pipeline: the pixel-storage modes and pixel-transfer operations, which include how to set up an arbitrary mapping to convert pixel data. You can also magnify or reduce a pixel rectangle before it's drawn by calling glPixelZoom(). The order of these operations is shown in Figure 8-4.

Figure 9-4. Imaging Pipeline


When glDrawPixels() is called, the data is first unpacked from processor memory according to the pixel-storage modes that are in effect and then the pixel-transfer operations are applied. The resulting pixels are then rasterized. During rasterization, the pixel rectangle may be zoomed up or down, depending on the current state. Finally, the fragment operations are applied and the pixels are written into the framebuffer. (See “Testing and Operating on Fragments” in Chapter 10 for a discussion of the fragment operations.)

When glReadPixels() is called, data is read from the framebuffer, the pixel-transfer operations are performed, and then the resulting data is packed into processor memory.

glCopyPixels() applies all the pixel-transfer operations during what would be the glReadPixels() activity. The resulting data is written as it would be by glDrawPixels(), but the transformations aren't applied a second time. Figure 8-5 shows how glCopyPixels() moves pixel data, starting from the frame buffer.

Figure 9-5. glCopyPixels() Pixel Path


From “Drawing the Bitmap” and Figure 8-6, you see that rendering bitmaps is simpler than rendering images. Neither the pixel-transfer operations nor the pixel-zoom operation are applied.

Figure 9-6. glBitmap() Pixel Path


Note that the pixel-storage modes and pixel-transfer operations are applied to textures as they are read from or written to texture memory. Figure 8-7 shows the effect on glTexImage*(), glTexSubImage*(), and glGetTexImage().

Figure 9-7. glTexImage*(), glTexSubImage*(), and glGetTexImage() Pixel Paths


As seen in Figure 8-8, when pixel data is copied from the framebuffer into texture memory (glCopyTexImage*() or glCopyTexSubImage*()), only pixel-transfer operations are applied. (See Chapter 9 for more information on textures.)

Figure 9-8. glCopyTexImage*() and glCopyTexSubImage*() Pixel Paths


Pixel Packing and Unpacking

Packing and unpacking refer to the way that pixel data is written to and read from processor memory.

An image stored in memory has between one and four chunks of data, called elements. The data might consist of just the color index or the luminance (luminance is the weighted sum of the red, green, and blue values), or it might consist of the red, green, blue, and alpha components for each pixel. The possible arrangements of pixel data, or formats, determine the number of elements stored for each pixel and their order.

Some elements (such as a color index or a stencil index) are integers, and others (such as the red, green, blue, and alpha components, or the depth component) are floating-point values, typically ranging between 0.0 and 1.0. Floating-point components are usually stored in the framebuffer with lower resolution than a full floating-point number would require (for example, color components may be stored in 8 bits). The exact number of bits used to represent the components depends on the particular hardware being used. Thus, it's often wasteful to store each component as a full 32-bit floating-point number, especially since images can easily contain a million pixels.

Elements can be stored in memory as various data types, ranging from 8-bit bytes to 32-bit integers or floating-point numbers. OpenGL explicitly defines the conversion of each component in each format to each of the possible data types. Keep in mind that you may lose data if you try to store a high-resolution component in a type represented by a small number of bits.

Controlling Pixel-Storage Modes

Image data is typically stored in processor memory in rectangular two- or three-dimensional arrays. Often, you want to display or store a subimage that corresponds to a subrectangle of the array. In addition, you might need to take into account that different machines have different byte-ordering conventions. Finally, some machines have hardware that is far more efficient at moving data to and from the framebuffer if the data is aligned on 2-byte, 4-byte, or 8-byte boundaries in processor memory. For such machines, you probably want to control the byte alignment. All the issues raised in this paragraph are controlled as pixel-storage modes, which are discussed in the next subsection. You specify these modes by using glPixelStore*(), which you've already seen used in a couple of example programs.

All the possible pixel-storage modes are controlled with the glPixelStore*() command. Typically, several successive calls are made with this command to set several parameter values.

void glPixelStore{if}(GLenum pname, TYPE param); 

Sets the pixel-storage modes, which affect the operation of glDrawPixels(), glReadPixels(), glBitmap(), glPolygonStipple(), glTexImage1D(), glTexImage2D(), glTexSubImage1D(), glTexSubImage2D(), and glGetTexImage(). The possible parameter names for pname are shown in Table 8-3, along with their data type, initial value, and valid range of values. The GL_UNPACK* parameters control how data is unpacked from memory by glDrawPixels(), glBitmap(), glPolygonStipple(), glTexImage1D(), glTexImage2D(), glTexSubImage1D(), and glTexSubImage2D(). The GL_PACK* parameters control how data is packed into memory by glReadPixels() and glGetTexImage().

Table 9-3. glPixelStore() Parameters

Parameter Name

Type

Initial Value

Valid Range

GL_UNPACK_SWAP_BYTES, GL_PACK_SWAP_BYTES

GLboolean

FALSE

TRUE/FALSE

GL_UNPACK_LSB_FIRST, GL_PACK_LSB_FIRST

GLboolean

FALSE

TRUE/FALSE

GL_UNPACK_ROW_LENGTH, GL_PACK_ROW_LENGTH

GLint

0

any nonnegative integer

GL_UNPACK_SKIP_ROWS, GL_PACK_SKIP_ROWS

GLint

0

any nonnegative integer

GL_UNPACK_SKIP_PIXELS, GL_PACK_SKIP_PIXELS

GLint

0

any nonnegative integer

GL_UNPACK_ALIGNMENT, GL_PACK_ALIGNMENT

GLint

4

1, 2, 4, 8

Since the corresponding parameters for packing and unpacking have the same meanings, they're discussed together in the rest of this section and referred to without the GL_PACK or GL_UNPACK prefix. For example, *SWAP_BYTES refers to GL_PACK_SWAP_BYTES and GL_UNPACK_SWAP_BYTES.

If the *SWAP_BYTES parameter is FALSE (the default), the ordering of the bytes in memory is whatever is native for the OpenGL client; otherwise, the bytes are reversed. The byte reversal applies to any size element, but really only has a meaningful effect for multibyte elements.


Note: As long as your OpenGL application doesn't share images with other machines, you can ignore the issue of byte ordering. If your application must render an OpenGL image that was created on a different machine and the “endianness” of the two machines differs, byte ordering can be swapped using *SWAP_BYTES. However, *SWAP_BYTES does not allow you to reorder elements (for example, to swap red and green).

The *LSB_FIRST parameter applies when drawing or reading 1-bit images or bitmaps, for which a single bit of data is saved or restored for each pixel. If *LSB_FIRST is FALSE (the default), the bits are taken from the bytes starting with the most significant bit; otherwise, they're taken in the opposite order. For example, if *LSB_FIRST is FALSE, and the byte in question is 0x31, the bits, in order, are {0, 0, 1, 1, 0, 0, 0, 1}. If *LSB_FIRST is TRUE, the order is {1, 0, 0, 0, 1, 1, 0, 0}.

Sometimes you want to draw or read only a subrectangle of the entire rectangle of image data stored in memory. If the rectangle in memory is larger than the subrectangle that's being drawn or read, you need to specify the actual length (measured in pixels) of the larger rectangle with *ROW_LENGTH. If *ROW_LENGTH is zero (which it is by default), the row length is understood to be the same as the width that's specified with glReadPixels(), glDrawPixels(), or glCopyPixels(). You also need to specify the number of rows and pixels to skip before starting to copy the data for the subrectangle. These numbers are set using the parameters *SKIP_ROWS and *SKIP_PIXELS, as shown in Figure 8-9. By default, both parameters are 0, so you start at the lower-left corner.

Figure 9-9. *SKIP_ROWS, *SKIP_PIXELS, and *ROW_LENGTH Parameters


Often a particular machine's hardware is optimized for moving pixel data to and from memory, if the data is saved in memory with a particular byte alignment. For example, in a machine with 32-bit words, hardware can often retrieve data much faster if it's initially aligned on a 32-bit boundary, which typically has an address that is a multiple of 4. Likewise, 64-bit architectures might work better when the data is aligned to 8-byte boundaries. On some machines, however, byte alignment makes no difference.

As an example, suppose your machine works better with pixel data aligned to a 4-byte boundary. Images are most efficiently saved by forcing the data for each row of the image to begin on a 4-byte boundary. If the image is 5 pixels wide and each pixel consists of 1 byte each of red, green, and blue information, a row requires 5 × 3 = 15 bytes of data. Maximum display efficiency can be achieved if the first row, and each successive row, begins on a 4-byte boundary, so there is 1 byte of waste in the memory storage for each row. If your data is stored like this, set the *ALIGNMENT parameter appropriately (to 4, in this case).

If *ALIGNMENT is set to 1, the next available byte is used. If it's 2, a byte is skipped if necessary at the end of each row so that the first byte of the next row has an address that's a multiple of 2. In the case of bitmaps (or 1-bit images) where a single bit is saved for each pixel, the same byte alignment works, although you have to count individual bits. For example, if you're saving a single bit per pixel, the row length is 75, and the alignment is 4, then each row requires 75/8, or 9 3/8 bytes. Since 12 is the smallest multiple of 4 that is bigger than 9 3/8, 12 bytes of memory are used for each row. If the alignment is 1, then 10 bytes are used for each row, as 9 3/8 is rounded up to the next byte. (There is a simple use of glPixelStorei() in Example 8-4.)

Pixel-Transfer Operations

As image data is transferred from memory into the framebuffer, or from the framebuffer into memory, OpenGL can perform several operations on it. For example, the ranges of components can be altered—normally, the red component is between 0.0 and 1.0, but you might prefer to keep it in some other range; or perhaps the data you're using from a different graphics system stores the red component in a different range. You can even create maps to perform arbitrary conversion of color indices or color components during pixel transfer. Conversions such as these performed during the transfer of pixels to and from the framebuffer are called pixel-transfer operations. They're controlled with the glPixelTransfer*() and glPixelMap*() commands.

Be aware that although the color, depth, and stencil buffers have many similarities, they don't behave identically, and a few of the modes have special cases for special buffers. All the mode details are covered in this section and the sections that follow, including all the special cases.

Some of the pixel-transfer function characteristics are set with glPixelTransfer*(). The other characteristics are specified with glPixelMap*(), which is described in the next section.

void glPixelTransfer{if}(GLenum pname, TYPE param); 

Sets pixel-transfer modes that affect the operation of glDrawPixels(), glReadPixels(), glCopyPixels(), glTexImage1D(), glTexImage2D(), glCopyTexImage1D(), glCopyTexImage2D(), glTexSubImage1D(), glTexSubImage2D(), glCopyTexSubImage1D(), glCopyTexSubImage2D(), and glGetTexImage(). The parameter pname must be one of those listed in the first column of Table 8-4, and its value, param, must be in the valid range shown.

Table 9-4. glPixelTransfer*() Parameters (continued)

Parameter Name

Type

Initial Value

Valid Range

GL_MAP_COLOR

GLboolean

FALSE

TRUE/FALSE

GL_MAP_STENCIL

GLboolean

FALSE

TRUE/FALSE

GL_INDEX_SHIFT

GLint

0

(-∞, ∞)

GL_INDEX_OFFSET

GLint

0

(-∞, ∞)

GL_RED_SCALE

GLfloat

1.0

(-∞, ∞)

GL_GREEN_SCALE

GLfloat

1.0

(-∞, ∞)

GL_BLUE_SCALE

GLfloat

1.0

(-∞, ∞)

GL_ALPHA_SCALE

GLfloat

1.0

(-∞, ∞)

GL_DEPTH_SCALE

GLfloat

1.0

(-∞, ∞)

GL_RED_BIAS

GLfloat

0

(-∞, ∞)

GL_GREEN_BIAS

GLfloat

0

(-∞, ∞)

GL_BLUE_BIAS

GLfloat

0

(-∞, ∞)

GL_ALPHA_BIAS

GLfloat

0

(-∞, ∞)

GL_DEPTH_BIAS

GLfloat

0

(-∞, ∞)

If the GL_MAP_COLOR or GL_MAP_STENCIL parameter is TRUE, then mapping is enabled. See the next subsection to learn how the mapping is done and how to change the contents of the maps. All the other parameters directly affect the pixel component values.

A scale and bias can be applied to the red, green, blue, alpha, and depth components. For example, you may wish to scale red, green, and blue components that were read from the framebuffer before converting them to a luminance format in processor memory. Luminance is computed as the sum of the red, green, and blue components, so if you use the default value for GL_RED_SCALE, GL_GREEN_SCALE and GL_BLUE_SCALE, the components all contribute equally to the final intensity or luminance value. If you want to convert RGB to luminance, according to the NTSC standard, you set GL_RED_SCALE to .30, GL_GREEN_SCALE to .59, and GL_BLUE_SCALE to .11.

Indices (color and stencil) can also be transformed. In the case of indices a shift and offset are applied. This is useful if you need to control which portion of the color table is used during rendering.

Pixel Mapping

All the color components, color indices, and stencil indices can be modified by means of a table lookup before they are placed in screen memory. The command for controlling this mapping is glPixelMap*().

void glPixelMap{ui us f}v(GLenum map, GLint mapsize,
const TYPE *values);
 

Loads the pixel map indicated by map with mapsize entries, whose values are pointed to by values. Table 8-5 lists the map names and values; the default sizes are all 1 and the default values are all 0. Each map's size must be a power of 2.

Table 9-5. glPixelMap*() Parameter Names and Values

Map Name

Address

Value

GL_PIXEL_MAP_I_TO_I

color index

color index

GL_PIXEL_MAP_S_TO_S

stencil index

stencil index

GL_PIXEL_MAP_I_TO_R

color index

R

GL_PIXEL_MAP_I_TO_G

color index

G

GL_PIXEL_MAP_I_TO_B

color index

B

GL_PIXEL_MAP_I_TO_A

color index

A

GL_PIXEL_MAP_R_TO_R

R

R

GL_PIXEL_MAP_G_TO_G

G

G

GL_PIXEL_MAP_B_TO_B

B

B

GL_PIXEL_MAP_A_TO_A

A

A

The maximum size of the maps is machine-dependent. You can find the sizes of the pixel maps supported on your machine with glGetIntegerv(). Use the query argument GL_MAX_PIXEL_MAP_TABLE to obtain the maximum size for all the pixel map tables, and use GL_PIXEL_MAP_*_TO_*_SIZE to obtain the current size of the specified map. The six maps whose address is a color index or stencil index must always be sized to an integral power of 2. The four RGBA maps can be any size from 1 through GL_MAX_PIXEL_MAP_TABLE.

To understand how a table works, consider a simple example. Suppose that you want to create a 256-entry table that maps color indices to color indices using GL_PIXEL_MAP_I_TO_I. You create a table with an entry for each of the values between 0 and 255 and initialize the table with glPixelMap*(). Assume you're using the table for thresholding and want to map indices below 101 (indices 0 to 100) to 0, and all indices 101 and above to 255. In this case, your table consists of 101 0s and 155 255s. The pixel map is enabled using the routine glPixelTransfer*() to set the parameter GL_MAP_COLOR to TRUE. Once the pixel map is loaded and enabled, incoming color indices below 101 come out as 0, and incoming pixels between 101 and 255 are mapped to 255. If the incoming pixel is larger than 255, it's first masked by 255, throwing out all the bits above the eighth, and the resulting masked value is looked up in the table. If the incoming index is a floating-point value (say 88.14585), it's rounded to the nearest integer value (giving 88), and that number is looked up in the table (giving 0).

Using pixel maps, you can also map stencil indices or convert color indices to RGB. (See “Reading and Drawing Pixel Rectangles” for information about the conversion of indices.)

Magnifying, Reducing, or Flipping an Image

After the pixel-storage modes and pixel-transfer operations are applied, images and bitmaps are rasterized. Normally, each pixel in an image is written to a single pixel on the screen. However, you can arbitrarily magnify, reduce, or even flip (reflect) an image by using glPixelZoom().

void glPixelZoom(GLfloat zoomx, GLfloat zoomy); 

Sets the magnification or reduction factors for pixel-write operations (glDrawPixels() or glCopyPixels()), in the x- and y-dimensions. By default, zoomx and zoomy are 1.0. If they're both 2.0, each image pixel is drawn to 4 screen pixels. Note that fractional magnification or reduction factors are allowed, as are negative factors. Negative zoom factors reflect the resulting image about the current raster position.

During rasterization, each image pixel is treated as a zoomx × zoomy rectangle, and fragments are generated for all the pixels whose centers lie within the rectangle. More specifically, let (xrp, yrp) be the current raster position. If a particular group of elements (index or components) is the nth in a row and belongs to the mth column, consider the region in window coordinates bounded by the rectangle with corners at

(xrp + zoomx * n, yrp + zoomy * m) and (xrp + zoomx(n+1), yrp + zoomy(m+1))

Any fragments whose centers lie inside this rectangle (or on its bottom or left boundaries) are produced in correspondence with this particular group of elements.

A negative zoom can be useful for flipping an image. OpenGL describes images from the bottom row of pixels to the top (and from left to right). If you have a “top to bottom” image, such as a frame of video, you may want to use glPixelZoom(1.0, -1.0) to make the image right side up for OpenGL. Be sure that you reposition the current raster position appropriately, if needed.

Example 8-4 shows the use of glPixelZoom(). A checkerboard image is initially drawn in the lower-left corner of the window. Pressing a mouse button and moving the mouse uses glCopyPixels() to copy the lower-left corner of the window to the current cursor location. (If you copy the image onto itself, it looks wacky!) The copied image is zoomed, but initially it is zoomed by the default value of 1.0, so you won't notice. The `z' and `Z' keys increase and decrease the zoom factors by 0.5. Any window damage causes the contents of the window to be redrawn. Pressing the `r' key resets the image and the zoom factors.

Example 9-4. Drawing, Copying, and Zooming Pixel Data: image.c


#include <GL/gl.h>
#include <GL/glu.h>
#include <GL/glut.h>
#include <stdlib.h>
#include <stdio.h>

#define checkImageWidth 64
#define checkImageHeight 64
GLubyte checkImage[checkImageHeight][checkImageWidth][3];

static GLdouble zoomFactor = 1.0;
static GLint height;

void makeCheckImage(void)
{
   int i, j, c;
    
   for (i = 0; i < checkImageHeight; i++) {
      for (j = 0; j < checkImageWidth; j++) {
         c = ((((i&0x8)==0)^((j&0x8))==0))*255;
         checkImage[i][j][0] = (GLubyte) c;
         checkImage[i][j][1] = (GLubyte) c;
         checkImage[i][j][2] = (GLubyte) c;
      }
   }
}

void init(void)
{    
   glClearColor (0.0, 0.0, 0.0, 0.0);
   glShadeModel(GL_FLAT);
   makeCheckImage();
   glPixelStorei(GL_UNPACK_ALIGNMENT, 1);
}

void display(void)
{
   glClear(GL_COLOR_BUFFER_BIT);
   glRasterPos2i(0, 0);
   glDrawPixels(checkImageWidth, checkImageHeight, GL_RGB, 
                GL_UNSIGNED_BYTE, checkImage);
   glFlush();
}

void reshape(int w, int h)
{
   glViewport(0, 0, (GLsizei) w, (GLsizei) h);
   height = (GLint) h;
   glMatrixMode(GL_PROJECTION);
   glLoadIdentity();
   gluOrtho2D(0.0, (GLdouble) w, 0.0, (GLdouble) h);
   glMatrixMode(GL_MODELVIEW);
   glLoadIdentity();
}

void motion(int x, int y)
{
   static GLint screeny;
   
   screeny = height - (GLint) y;
   glRasterPos2i (x, screeny);
   glPixelZoom (zoomFactor, zoomFactor);
   glCopyPixels (0, 0, checkImageWidth, checkImageHeight,
                 GL_COLOR);
   glPixelZoom (1.0, 1.0);
   glFlush ();
}

void keyboard(unsigned char key, int x, int y)
{
   switch (key) {
      case `r':
      case `R':
         zoomFactor = 1.0;
         glutPostRedisplay();
         printf (“zoomFactor reset to 1.0\n”);
         break;
      case `z':
         zoomFactor += 0.5;
         if (zoomFactor >= 3.0) 
            zoomFactor = 3.0;
         printf (“zoomFactor is now %4.1f\n”, zoomFactor);
         break;
      case `Z':
         zoomFactor -= 0.5;
         if (zoomFactor <= 0.5) 
            zoomFactor = 0.5;
         printf (“zoomFactor is now %4.1f\n”, zoomFactor);
         break;
      case 27:
         exit(0);
         break;
      default:
         break;
   }
}

int main(int argc, char** argv)
{
   glutInit(&argc, argv);
   glutInitDisplayMode(GLUT_SINGLE | GLUT_RGB);
   glutInitWindowSize(250, 250);
   glutInitWindowPosition(100, 100);
   glutCreateWindow(argv[0]);
   init();
   glutDisplayFunc(display);
   glutReshapeFunc(reshape);
   glutKeyboardFunc(keyboard);
   glutMotionFunc(motion);
   glutMainLoop();
   return 0; 
}

Reading and Drawing Pixel Rectangles

This section describes the reading and drawing processes in detail. The pixel conversions performed when going from framebuffer to memory (reading) are similar but not identical to the conversions performed when going in the opposite direction (drawing), as explained in the following sections. You may wish to skip this section the first time through, especially if you do not plan to use the pixel-transfer operations right away.

The Pixel Rectangle Drawing Process

Figure 8-10 and the following list describe the operation of drawing pixels into the framebuffer.

Figure 9-10. Drawing Pixels with glDrawPixels()


  1. If the pixels aren't indices (that is, the format isn't GL_COLOR_INDEX or GL_STENCIL_INDEX), the first step is to convert the components to floating-point format if necessary. (See Table 4-1 for the details of the conversion.)

  2. If the format is GL_LUMINANCE or GL_LUMINANCE_ALPHA, the luminance element is converted into R, G, and B, by using the luminance value for each of the R, G, and B components. In GL_LUMINANCE_ALPHA format, the alpha value becomes the A value. If GL_LUMINANCE is specified, the A value is set to 1.0.

  3. Each component (R, G, B, A, or depth) is multiplied by the appropriate scale, and the appropriate bias is added. For example, the R component is multiplied by the value corresponding to GL_RED_SCALE and added to the value corresponding to GL_RED_BIAS.

  4. If GL_MAP_COLOR is true, each of the R, G, B, and A components is clamped to the range [0.0,1.0], multiplied by an integer one less than the table size, truncated, and looked up in the table. (See “Tips for Improving Pixel Drawing Rates” for more details.)

  5. Next, the R, G, B, and A components are clamped to [0.0,1.0], if they weren't already, and converted to fixed-point with as many bits to the left of the binary point as there are in the corresponding framebuffer component.

  6. If you're working with index values (stencil or color indices), then the values are first converted to fixed-point (if they were initially floating-point numbers) with some unspecified bits to the right of the binary point. Indices that were initially fixed-point remain so, and any bits to the right of the binary point are set to zero.

    The resulting index value is then shifted right or left by the absolute value of GL_INDEX_SHIFT bits; the value is shifted left if GL_INDEX_SHIFT > 0 and right otherwise. Finally, GL_INDEX_OFFSET is added to the index.

  7. The next step with indices depends on whether you're using RGBA mode or color-index mode. In RGBA mode, a color index is converted to RGBA using the color components specified by GL_PIXEL_MAP_I_TO_R, GL_PIXEL_MAP_I_TO_G, GL_PIXEL_MAP_I_TO_B, and GL_PIXEL_MAP_I_TO_A. (See “Pixel Mapping” for details.) Otherwise, if GL_MAP_COLOR is GL_TRUE, a color index is looked up through the table GL_PIXEL_MAP_I_TO_I. (If GL_MAP_COLOR is GL_FALSE, the index is unchanged.) If the image is made up of stencil indices rather than color indices, and if GL_MAP_STENCIL is GL_TRUE, the index is looked up in the table corresponding to GL_PIXEL_MAP_S_TO_S. If GL_MAP_STENCIL is FALSE, the stencil index is unchanged.

  8. Finally, if the indices haven't been converted to RGBA, the indices are then masked to the number of bits of either the color-index or stencil buffer, whichever is appropriate.

The Pixel Rectangle Reading Process

Many of the conversions done during the pixel rectangle drawing process are also done during the pixel rectangle reading process. The pixel reading process is shown in Figure 8-11 and described in the following list.

Figure 9-11. Reading Pixels with glReadPixels()


  1. If the pixels to be read aren't indices (that is, the format isn't GL_COLOR_INDEX or GL_STENCIL_INDEX), the components are mapped to [0.0,1.0]—that is, in exactly the opposite way that they are when written.

  2. Next, the scales and biases are applied to each component. If GL_MAP_COLOR is GL_TRUE, they're mapped and again clamped to [0.0,1.0]. If luminance is desired instead of RGB, the R, G, and B components are added (L = R + G + B).

  3. If the pixels are indices (color or stencil), they're shifted, offset, and, if GL_MAP_COLOR is GL_TRUE, also mapped.

  4. If the storage format is either GL_COLOR_INDEX or GL_STENCIL_INDEX, the pixel indices are masked to the number of bits of the storage type (1, 8, 16, or 32) and packed into memory as previously described.

  5. If the storage format is one of the component kind (such as luminance or RGB), the pixels are always mapped by the index-to-RGBA maps. Then, they're treated as though they had been RGBA pixels in the first place (including potential conversion to luminance).

  6. Finally, for both index and component data, the results are packed into memory according to the GL_PACK* modes set with glPixelStore*().

The scaling, bias, shift, and offset values are the same as those used when drawing pixels, so if you're both reading and drawing pixels, be sure to reset these components to the appropriate values before doing a read or a draw. Similarly, the various maps must be properly reset if you intend to use maps for both reading and drawing.


Note: It might seem that luminance is handled incorrectly in both the reading and drawing operations. For example, luminance is not usually equally dependent on the R, G, and B components as it may be assumed from both Figure 8-10 and Figure 8-11. If you wanted your luminance to be calculated such that the R component contributed 30 percent, the G 59 percent, and the B 11 percent, you can set GL_RED_SCALE to .30, GL_RED_BIAS to 0.0, and so on. The computed L is then .30R + .59G + .11B.


Tips for Improving Pixel Drawing Rates

As you can see, OpenGL has a rich set of features for reading, drawing and manipulating pixel data. Although these features are often very useful, they can also decrease performance. Here are some tips for improving pixel draw rates.

  • For best performance, set all pixel-transfer parameters to their default values, and set pixel zoom to (1.0,1.0).

  • A series of fragment operations is applied to pixels as they are drawn into the framebuffer. (See “Testing and Operating on Fragments” in Chapter 10.) For optimum performance disable all fragment operations.

  • While performing pixel operations, disable other costly states, such as texturing and lighting.

  • If you use an image format and type that matches the framebuffer, you can reduce the amount of work that the OpenGL implementation has to do. For example, if you are writing images to an RGB framebuffer with 8 bits per component, call glDrawPixels() with format set to RGB and type set to UNSIGNED_BYTE.

  • For some implementations, unsigned image formats are faster to use than signed image formats.

  • It is usually faster to draw a large pixel rectangle than to draw several small ones, since the cost of transferring the pixel data can be amortized over many pixels.

  • If possible, reduce the amount of data that needs to be copied by using small data types (for example, use GL_UNSIGNED_BYTE) and fewer components (for example, use format GL_LUMINANCE_ALPHA).

  • Pixel-transfer operations, including pixel mapping and values for scale, bias, offset, and shift other than the defaults, may decrease performance.